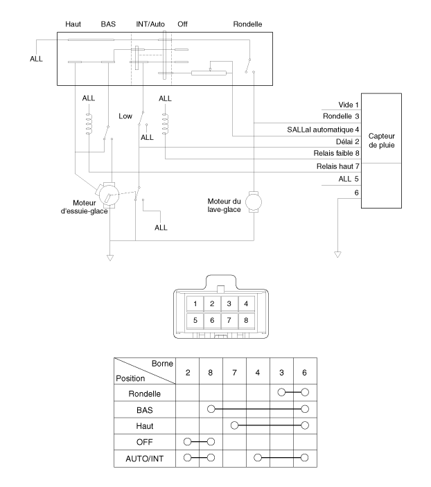
| Schéma du circuit |

Moteur du lave-glace avant / Procédures de réparation
À capteur de pluie / Description et fonctionnementManuel du proprietaire Kia Cee'd: Précautions d’ordre général
concernant l’entretien de l’intérieur
de votre véhicule
Évitez que des produits chimiques, tels
que parfums, huiles cosmétiques, crème
solaire, solution hydro-alcoolique et
désodorisants d'intérieur, entrent en
contact avec les pièces internes ; elles
peuvent les endommager ou entraîner
une décoloration. En cas de contact
avec les p ...
Revue Technique Kia Cee'd: Dispositif de chauffage PTC (moteur diesel) / Description et fonctionnement
Description
Le chauffage PTC (coefficient de température positive) est installé à la sortie
ou au dos du noyau du chauffage.
Le dispositif de chauffage PTC est un dispositif de chauffage électrique qui
utilise un élément PTC comme support de chauffage auxiliaire, et ...