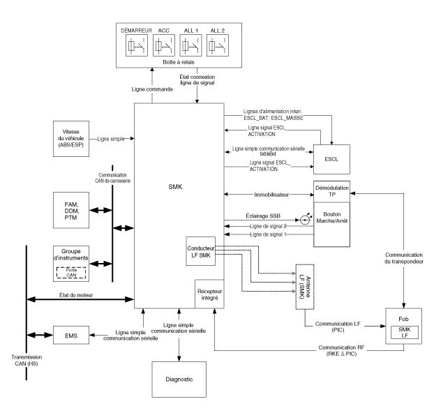
| Schéma du circuit | 

 Composants et emplacement des composants
Composants et emplacement des composants Description et fonctionnement
Description et fonctionnementRevue Technique Kia Cee'd: Description et fonctionnement
   
	
		Description
	
	
		CONFIGURATION DU SYSTÈME
	
	Une position de siège optimale réglée par le conducteur peut être mémorisée 
	dans l'unité de siège électrique par l'INT IMS, ce qui permet la restauration 
	de la position du siège choisie par un conducteur en dà ...
   
Revue Technique Kia Cee'd: Boîte d'engrenage de direction / Procédures de réparation
   
	
		REMPLACEMENT
	
	
		1. 
		
		
			Desserrez légèrement les écrous de la roue. 
		
			Soulevez le véhicule et vérifiez qu'il est correctement calé. 
		
	
	
		2. 
		
		
			Déposez l'ensemble roue/pneu avant (A) du moyeu. 
		
			
				
				
					Couple de  ...