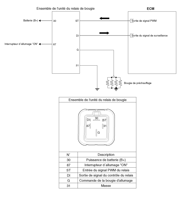
| Schéma du circuit |

Ensemble de l'unité du relais de bougie / Spécifications
Ensemble de l'unité du relais de bougie / Procédures de réparationManuel du proprietaire Kia Cee'd: Indicateur de position de vitesse de la
boîte automatique en mode Sport (sur
véhicule équipé, en Europe)
En mode Sport, cet indicateur signale la
vitesse conseillée pour économiser le
carburant.
Par exemple
: Indique qu’il est recommandé de
rétrograder en 3ème vitesse (le
levier de vitesse est actuellement
en 2ème ou en 1ère position).
: Indique qu’il est recommandé de
rét ...
Manuel du proprietaire Kia Cee'd: Entretien de la finition de la peinture
Lavage
Pour protéger la finition de la peinture de
votre véhicule contre la rouille et d'autres
détériorations, lavez soigneusement
votre véhicule au moins une fois par mois
à l’aide d’eau tiède ou froide.
Si vous conduisez en dehors des routes,
vous devez laver votre véhicul ...