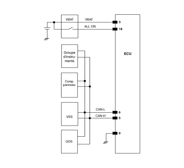
| Schéma du circuit |

| Connecteur de faisceau |

|
N° de broche |
DESCRIPTION |
|
1 |
Batterie ECU |
|
2 |
Allumage ON |
|
3 |
CAN Haut |
|
4 |
CAN Bas |
|
5 |
masse |
|
6 |
ㅡ |
Récepteur TPMS / Description et fonctionnement
Récepteur TPMS / Procédures de réparationManuel du proprietaire Kia Cee'd: Les essuie-glaces (avant)
Fonctionnent comme suit lorsque le
contacteur d’allumage est sur ON.
: Pour un seul cycle d'essuyage,
placez le levier dans cette position,
puis relâchez-le. Les essuie-glace
restent en balayage continu si le
levier est maintenu dans cette
position.
O : Les essuie-glaces ne fonction ...
Manuel du proprietaire Kia Cee'd: Le système LDWS peut ne pas
vous avertir même si le véhicule
quitte la voie ou inversement, et ce
dans les conditions suivantes
Vous avez une très mauvaise visibilité
du fait de la neige, de la pluie, de
tâches, de flaques d'eau, etc.
La luminosité ambiante change
brusquement.
Les phares ne sont pas allumés, et ce
même la nuit ou dans les tunnels.
Il est particulièrement difficile de
distinguer ...